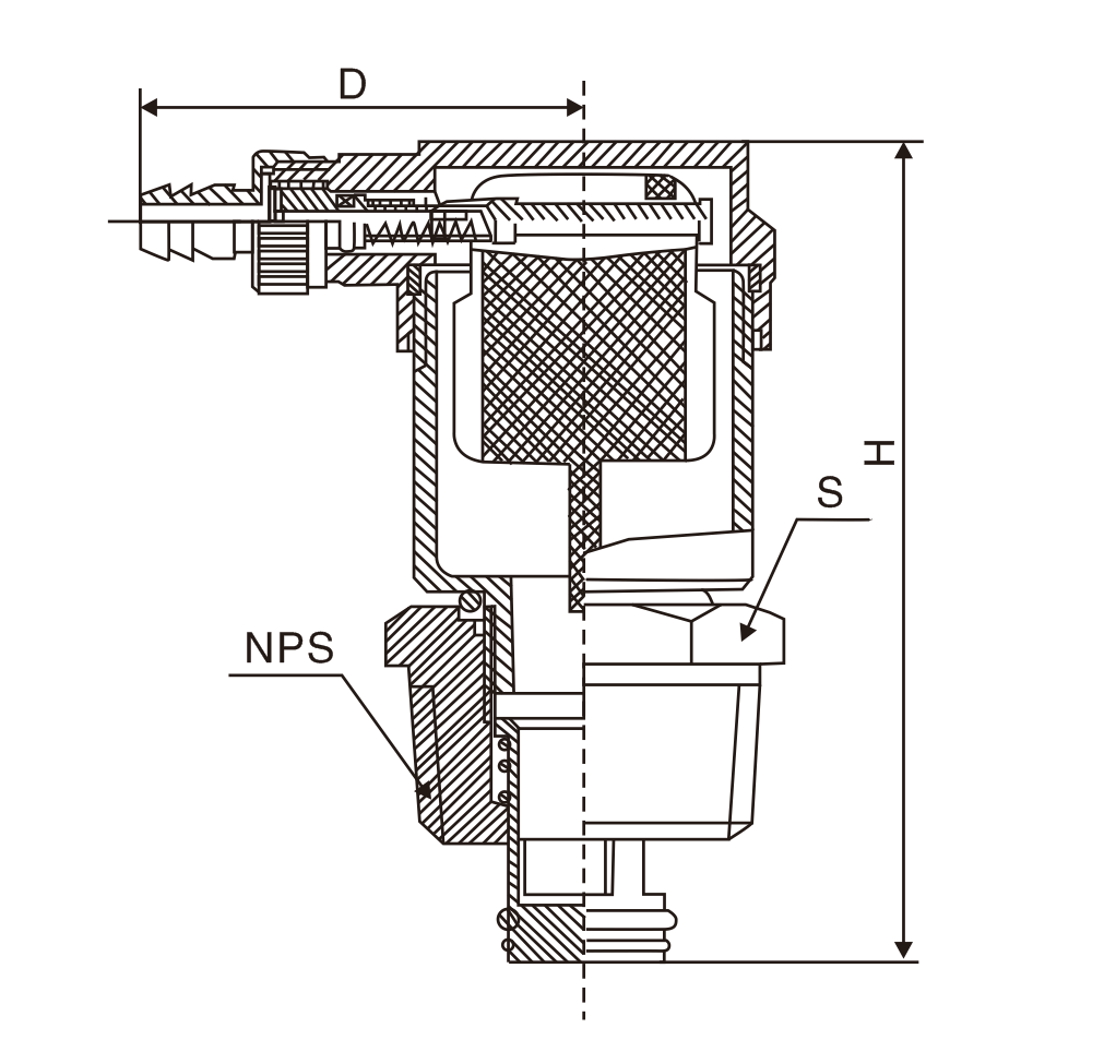
黃銅自動(dong)單向排氣閥
産(chǎn)品型号:B725X-16T
公稱壓(yā)力:1.6MPa
工作介質:水(shui)、燃氣
工作溫度(dù):-10℃≤t≤100℃
管螺紋标準:符(fu)合ISO228标準
主要外(wai)形尺寸
|
DN(mm) |
NPS(in) |
H |
D |
SW | |
|
15 |
1/2 |
76 |
47.5 |
1/2 |
22 |
|
20 |
3/4 |
78 |
47.5 |
3/4 |
27 |
|
25 |
1 |
79 |
47.5 |
1 |
33.5 |
蘇公網安(ān)備 32010202011315号